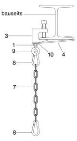
Zehnder Montagesätze bieten Lösungen für verschiedene Anwendungsfälle, von der Befestigung an Holzdecken bis hin zu horizontalen Stahlträgern. Die Standard-Montagesätze können wahlweise mit Spannschloss für eine höhere Flexibilität genutzt werden.
Drahtseilabhängungen sind insbesondere für niedrigere Räume entwickelt und harmonieren optimal mit der Zehnder ZFP Urban.


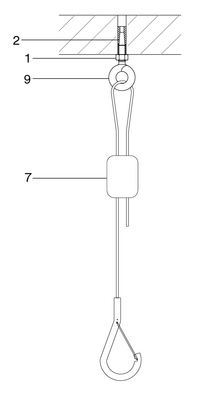
1 Sechskantmutter M8 || 506080
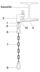
7 Gliederkette 4 mm || 509960
Gliederketten sind separat zu bestellen.
8 Karabinerhaken 5 x 50 || 506010
9 Ösenschraube M8 || 506040
13 Spannschloss M6 x 110 || 506120
14 Grundplatte M8 || 513500

1 Sechskantmutter M8 || 506080
2 Stahldübel M8 || 961120
7 Gliederkette 4 mm || 509960
Gliederketten sind separat zu bestellen.
8 Karabinerhaken 5 x 50 || 506010
9 Ösenschraube M8 || 506040
13 Spannschloss M6 x 110 || 506120

1 Sechskantmutter M8 || 506080
7 Gliederkette 4 mm || 509960
Gliederketten sind separat zu bestellen.
8 Karabinerhaken 5 x 50 || 506010
9 Ösenschraube M8 || 506040
13 Spannschloss M6 x 110 || 506120

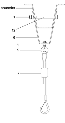
1 Sechskantmutter M8 || 506080
6 Trapezhänger M8 || 506020
7 Gliederkette 4 mm || 509960
Gliederketten sind separat zu bestellen.
8 Karabinerhaken 5 x 50 || 506010
9 Ösenschraube M8 || 506040
12 Sechskantschraube M8 x 110 || 501500
13 Spannschloss M6 x 110 || 506120

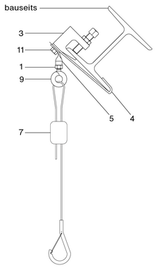
3 Trägerklammer M8 || 506030
4 Sicherungslasche || 506100
5 Blattschraube M8 || 506050
7 Gliederkette 4 mm || 509960
Gliederketten sind separat zu bestellen.
8 Karabinerhaken 5 x 50 || 506010
9 Ösenschraube M8 || 506040
11 Sechskantschraube M8 x 40 || 506070
13 Spannschloss M6 x 110 || 506120

1 Sechskantmutter M8 || 506080
3 Trägerklammer M8 || 506030
4 Sicherungslasche || 506100
7 Gliederkette 4 mm || 509960
Gliederketten sind separat zu bestellen.
8 Karabinerhaken 5 x 50 || 506010
9 Ösenschraube M8 || 506040
10 Unterlegscheibe M8 || 959020
13 Spannschloss M6 x 110 || 506120
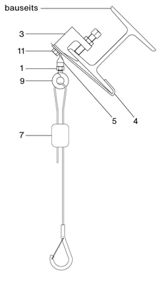
Die Montagesätze mit Drahtseilabhängung sind in zwei Versionen verfügbar. Die Versionen unterscheiden sich in der Länge der mitgelieferten Drahtseile. Bei der Version -1 (bspw. W 62-1) wird ein Drahtseil mit einer Länge ~ 1 m geliefert, bei der Version -3 (bspw. W 62-3) wird ein Drahtseil mit einer Länge von ~ 3 m geliefert. Ansonsten ist der Lieferumfang der beiden Versionen identisch.

1 Sechskantmutter M8 || 506080
7 Drahtseilabhängung mit Karabiner und Höhenjustierung (-1/-3) || 517980 / 518590
8 Karabinerhaken 5 x 50 || 506010
9 Ösenschraube M8 || 506040
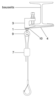
1 Sechskantmutter M8 || 506080
6 Trapezhänger M8 || 506020
7 Drahtseilabhängung mit Karabiner und Höhenjustierung (-1/-3) || 517980 / 518590
9 Ösenschraube M8 || 506040
12 Sechskantschraube M8 x 110 || 501500
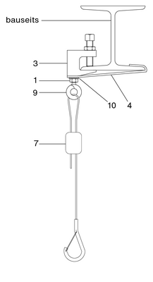
1 Sechskantmutter M8 || 506080
3 Trägerklammer M8 || 506030
4 Sicherungslasche || 506100
5 Blattschraube M8 || 506050
7 Drahtseilabhängung mit Karabiner und Höhenjustierung (-1/-3) || 517980 / 518590
9 Ösenschraube M8 || 506040
11 Sechskantschraube M8 x 40 || 506070
1 Sechskantmutter M8 || 506080
3 Trägerklammer M8 || 506030
4 Sicherungslasche || 506100
7 Drahtseilabhängung mit Karabiner und Höhenjustierung (-1/-3) || 517980 / 518590
9 Ösenschraube M8 || 506040
10 Unterlegscheibe M8 || 959020